Yamaha Outboard Parts - Optional Parts 2 - 40HM (1990) | Flood Marine
New Search
Parts
New Outboards
Home
40HM (1990)
Optional Parts 2
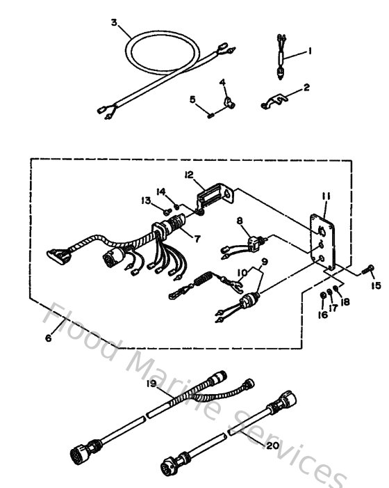
Diagram: Optional Parts 2
Parts List
Reference
Description
Price
1
6H3825400000
Neutral switch assembly
Loading…
↗
2
6H4825540000
Stay, Neutral Switch
Loading…
↗
3
6H4825530000
Extension, wire lead
Loading…
↗
4
6H4441730000
Lever Shift Control
Loading…
↗
5
916903002000
Pin, spring (6h4)
Loading…
↗
6
689825701C00
Switch :ob
Loading…
↗
7
689825100000
Main switch assembly
Loading…
↗
8
703825740000
Switch, choke
Loading…
↗
9
688825750200
Engine stop switch assembly
Loading…
↗
10
682825560000
Lanyard, stop switch
Loading…
↗
11
689825710200
Panel, Switch
Loading…
↗
12
663825810100
Stay, cord clamp
Loading…
↗
13
983030400800
Screw, pan head (713)
Loading…
↗
14
929900410000
Ybs67-4 washer, spring
Loading…
↗
15
9014905M0500
Screw(6k0)
Loading…
↗
16
953800560000
Nut, hexagon (663)
Loading…
↗
17
929900510000
Ybs67-5 washer, spring
Loading…
↗
18
929900560000
Washer, plain (646)
Loading…
↗
19
6888258A5000
10p main harness mec 5m (16ft)
Loading…
↗
20
6888258A1000
10p main harness mec 2m (7ft)
Loading…
↗