Yamaha Outboard Parts - Optional Parts 2 - 50DEMTO (1989) | Flood Marine
New Search
Parts
New Outboards
Home
50DEMTO (1989)
Optional Parts 2
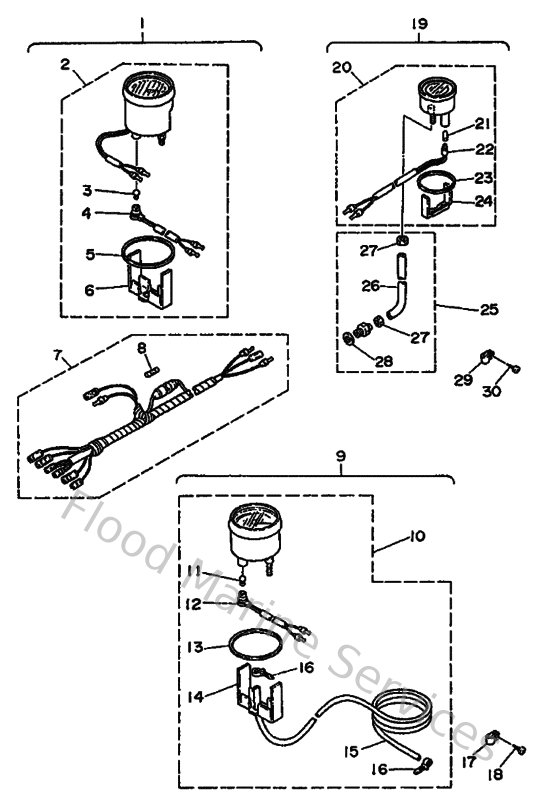
Diagram: Optional Parts 2
Parts List
Reference
Description
Price
1
6Y5W00801100
Tachometer kit
Loading…
↗
2
6Y5835401200
Tachometer assembly
Loading…
↗
3
688835160000
Bulb, pilot (t6.5, 12v-1.7w)
Loading…
↗
4
6Y5835361000
Socket, meter
Loading…
↗
5
6Y5835230000
Damper
Loading…
↗
6
6Y5835140000
Plate, fitting
Loading…
↗
7
6Y583553N000
Wire, lead (l=2.5m)
Loading…
↗
8
1E6821510000
Fuse (10a)
Loading…
↗
9
6Y5W00813000
Speedometer Kit
Loading…
↗
10
6Y5835103000
Speedometer assembly (km/h,knots,m
Loading…
↗
12
688835360000
Socket, meter
Loading…
↗
15
6Y5835571000
Tube (8m)
Loading…
↗
16
9046511M1000
Clamp
Loading…
↗
17
906013140200
021-58119-01 clip,nylon 14
Loading…
↗
18
977804011600
Screw,panh.tapping
Loading…
↗
19
6Y5W00880000
Water Pressure Meter Kit
Loading…
↗
20
6Y5836600000
Water pressure meter assembly
Loading…
↗
21
3FV835170000
Bulb (12v-1.7w) t6.5
Loading…
↗
22
6Y5835360000
Socket, meter
Loading…
↗
23
688836640000
Damper
Loading…
↗
24
688836650000
Plate, fitting
Loading…
↗
25
688836670000
Sender
Loading…
↗
26
688836660000
Tube
Loading…
↗
27
663836680000
Nut, nipple
Loading…
↗
28
904301411500
Gasket (663)
Loading…
↗