Yamaha Outboard Parts - Repair Kit 1 - 250AETOXLX (1991) | Flood Marine
New Search
Parts
New Outboards
Home
250AETOXLX (1991)
Repair Kit 1
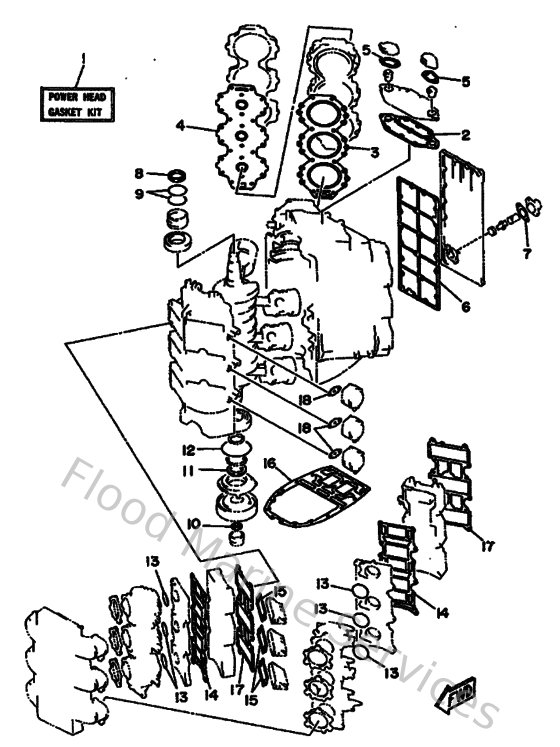
Diagram: Repair Kit 1
Parts List
Reference
Description
Price
1
61AW00010000
Power Head Gasket Kit
Loading…
↗
2
61A113810000
Gasket 1
Loading…
↗
3
61A111810000
Gasket, cylinder head 1
Loading…
↗
4
61A11193A200
Gasket, head cover 1
Loading…
↗
5
6H4124140000
Gasket, cover
Loading…
↗
6
61A411120000
Gasket, exhaust inner cover
Loading…
↗
7
6G5113820000
Gasket 2
Loading…
↗
8
9310240M3800
Oil seal(61a)
Loading…
↗
9
9321054M5400
O-ring (6g1)
Loading…
↗
10
9310422M0700
Oil seal(61a)
Loading…
↗
11
9310240M3600
Oil seal
Loading…
↗
12
9321081MA600
O-ring(61a)
Loading…
↗
13
9321050MA800
O-ring(61a)
Loading…
↗
14
61A136450000
Gasket, Manifold 1
Loading…
↗
15
61A136210000
Gasket, valve seat
Loading…
↗
16
61A451130000
Gasket, upper casing
Loading…
↗
17
61A136460000
Gasket, manifold 2
Loading…
↗
18
650244310000
Gasket,fuel pump
Loading…
↗