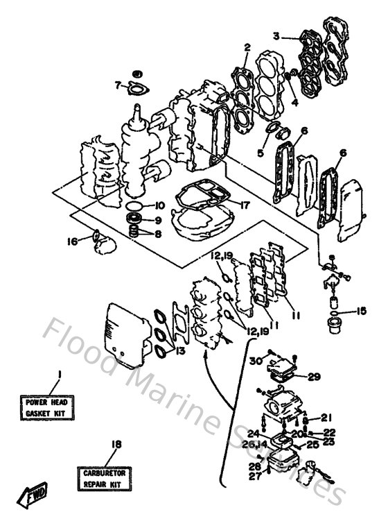
Yamaha Outboard Parts - Repair Kit 1 - 25QEO (1990) | Flood Marine

Diagram: Repair Kit 1

Diagram