Yamaha Outboard Parts - Repair Kit 1 - 50DEMTO (1987) | Flood Marine
New Search
Parts
New Outboards
Home
50DEMTO (1987)
Repair Kit 1
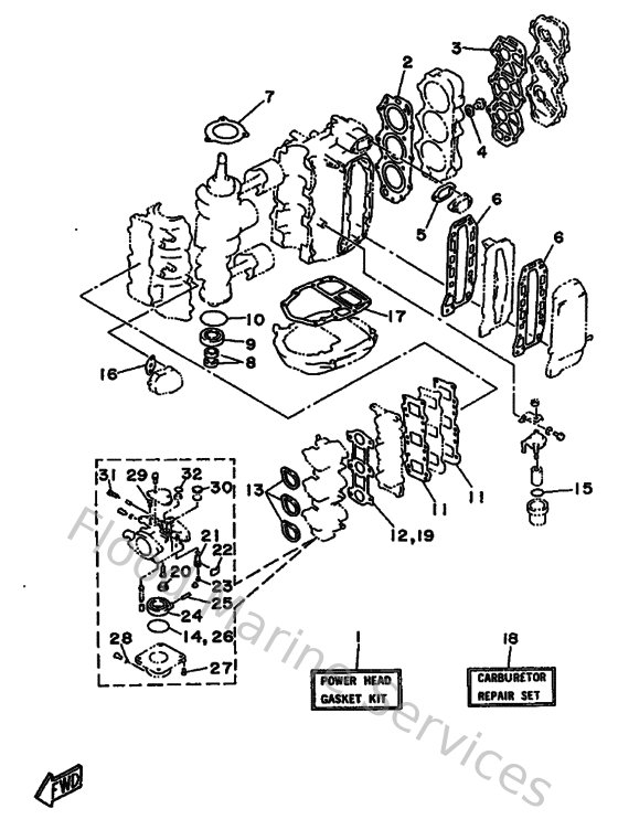
Diagram: Repair Kit 1
Parts List
Reference
Description
Price
1
6H4W00010000
Gasket kit, power unit
Loading…
↗
2
6H4111810000
Gasket, cylinder head 1
Loading…
↗
3
6H4111930000
Gasket, head cover 1
Loading…
↗
4
904301411500
Gasket (663)
Loading…
↗
5
6H4124140000
Gasket, cover
Loading…
↗
6
6H4411140000
Gasket, exhaust outer cover
Loading…
↗
7
6H415369A100
Gasket, oil seal housing
Loading…
↗
8
9310416M0100
Oil seal(6a8)
Loading…
↗
9
9310225M2800
Oil seal(6h4)
Loading…
↗
10
9321058M2100
O-ring (683)
Loading…
↗
11
6H413621A100
Gasket, valve seat
Loading…
↗
12
6H4141980000
Gasket, plate
Loading…
↗
13
6H3144570000
Seal
Loading…
↗
14
6G1149840000
Gasket, float chamber
Loading…
↗
15
9321037M2500
O-ring (655)
Loading…
↗
16
650244310000
Gasket,fuel pump
Loading…
↗
17
6H4451130000
Gasket, upper casing
Loading…
↗
18
6H4W00930100
Carburetor repair set
Loading…
↗
19
6H4141980900
Gasket, plate
Loading…
↗
20
676149660000
Rubber cap
Loading…
↗
21
6H3145900000
Needle valve assembly
Loading…
↗
22
633141590000
Clip
Loading…
↗
23
676141860000
Pin, valve
Loading…
↗
24
6G1149850000
Float comp.
Loading…
↗
25
688145480000
Pin, arm
Loading…
↗
27
979800411400
Screw, pan head(ga5)
Loading…
↗
28
932100423000
O-ring (371)
Loading…
↗
29
663141260000
Packing
Loading…
↗
30
688141260000
Packing
Loading…
↗
31
692149230000
Screw, adjusting
Loading…
↗
32
9321015M5200
O-ring (6e9)
Loading…
↗