Yamaha Outboard Parts - Repair Kit 2 - 25BMH (2001) | Flood Marine

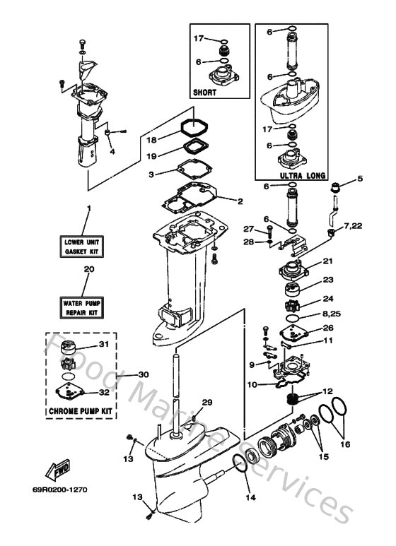
Diagram: Repair Kit 2

Diagram

Parts List

Reference
Description
Price