Yamaha Outboard Parts - Repair Kit 2 - 40XMH (2001) | Flood Marine
New Search
Parts
New Outboards
Home
40XMH (2001)
Repair Kit 2
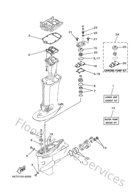
Diagram: Repair Kit 2
Parts List
Reference
Description
Price
1
66TW00012000
Lower unit gasket kit
Loading…
↗
2
66T41133A000
Gasket, exhaust manifold 1
Loading…
↗
3
66T45114A000
Gasket, upper casing
Loading…
↗
4
904300802000
Gasket
Loading…
↗
5
9321059MG700
O-ring
Loading…
↗
6
63D443160000
Gasket, water pump
Loading…
↗
7
9310122M6000
Oil seal
Loading…
↗
8
9321048MG800
O-ring
Loading…
↗
9
9321033MG400
O-ring
Loading…
↗
10
9321006ME600
O-ring
Loading…
↗
11
9321069MG600
O-ring
Loading…
↗
12
9321074MG500
O-ring (xea)
Loading…
↗
13
931012206700
Oil seal (22x36x6-663)
Loading…
↗
14
66TW00780000
Water pump repair kit
Loading…
↗
15
63D443220000
Insert, cartridge
Loading…
↗
16
66T443230000
Outer plate, cartridge
Loading…
↗
19
9028003M0300
Key, woodruff (697)
Loading…
↗
20
6H4443520200
Impeller
Loading…
↗
21
9011908M1500
Bolt, with washer(62w)
Loading…
↗
22
663443660000
Damper, water seal 2
Loading…
↗
23
63D443120000
Cover, water pump housing
Loading…
↗
24
66TW00780A00
Chrome pump kit
Loading…
↗
25
63D443224000
Insert, cartridge
Loading…
↗
26
66T443234000
Outer plate, cartridge
Loading…
↗