Yamaha Outboard Parts - Repair Kit 2 - FT9.9AMH (1998) | Flood Marine
New Search
Parts
New Outboards
Home
FT9.9AMH (1998)
Repair Kit 2
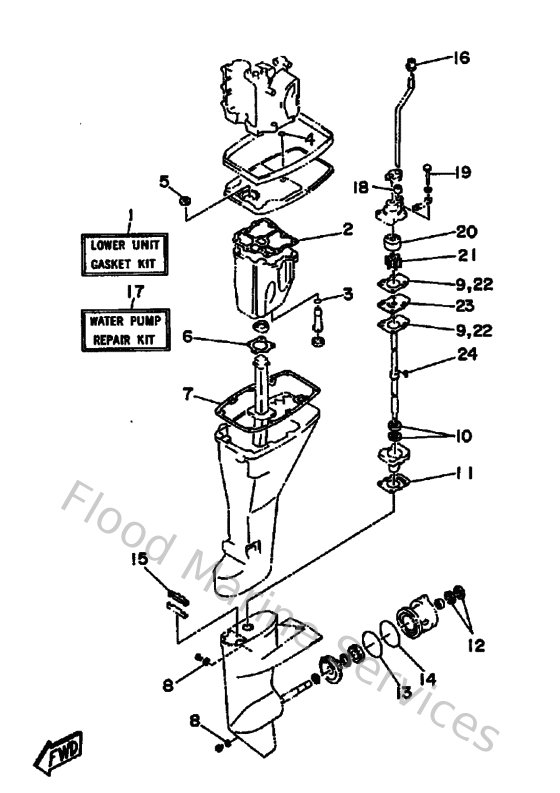
Diagram: Repair Kit 2
Parts List
Reference
Description
Price
1
6G8W0001C500
Lower Unit Gasket Kit
Loading…
↗
2
6G815312A000
Gasket, oil pan
Loading…
↗
3
932101671600
O-ring (m124)
Loading…
↗
4
9321008M6000
O-ring (6g8)
Loading…
↗
5
9310113M2700
Oil seal (6g8)
Loading…
↗
6
6G841133A000
Gasket,exhaust manifold 1
Loading…
↗
7
6G845113A100
Gasket, upper casing
Loading…
↗
8
904300802000
Gasket
Loading…
↗
9
68244315A000
Gasket,water pump 1
Loading…
↗
10
931012004800
Oil seal (20x30x6-648)
Loading…
↗
11
6G845315A000
Packing, lower casing
Loading…
↗
12
931011705400
Oil seal (17x30x6-650)
Loading…
↗
13
9321074M6800
O-ring (6g8)
Loading…
↗
14
932107431600
O-ring (1j7)
Loading…
↗
15
682453750100
Damper, seal
Loading…
↗
16
626443650100
Damper, water seal 1
Loading…
↗
17
682W0078A200
Water pump repair kit
Loading…
↗
18
682443650000
Damper, water seal 1
Loading…
↗
19
970800604500
Bolt, hexagon
Loading…
↗
20
682443220000
Insert, cartridge
Loading…
↗
21
682443520100
Impeller
Loading…
↗
23
682443230000
Outer plate, cartridge
Loading…
↗
24
902800302400
Key, woodruff(662)
Loading…
↗