Yamaha Outboard Parts - Starter - 40QMH (1993) | Flood Marine
New Search
Parts
New Outboards
Home
40QMH (1993)
Starter
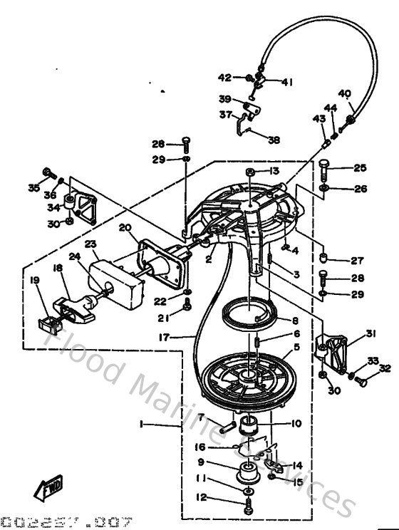
Diagram: Starter
Parts List
Reference
Description
Price
2
676157110194
Case, Starter
Loading…
↗
3
916904002000
Pin, spring
Loading…
↗
4
676157730000
Stay 3
Loading…
↗
7
676157990100
Clip
Loading…
↗
8
9051009M0000
Spring, starter (676)
Loading…
↗
9
676157170000
Shaft, Starter
Loading…
↗
10
9038635M0100
Bushing (676)
Loading…
↗
11
902010830900
Washer, Plate
Loading…
↗
12
970130802500
Bolt (682)
Loading…
↗
13
953030860000
Nut(6l2)
Loading…
↗
15
9343006M0200
Circlip (689)
Loading…
↗
16
676157050000
Spring, pawl drive
Loading…
↗
18
689157550100
Handle, starter
Loading…
↗
19
6F5157790200
Cover
Loading…
↗
21
973950601600
Bolt, hexagon deep recess
Loading…
↗
22
929900660000
Washer, plain (646)
Loading…
↗
23
6A0157620100
Seal, rubber 2
Loading…
↗
24
6A0157890000
Damper
Loading…
↗
25
973950804000
Bolt, hexagon
Loading…
↗
26
929900810000
Ybs67-8 washer, spring
Loading…
↗
27
995101201600
Pin, dowel
Loading…
↗
28
973950603000
Bolt(jf7)
Loading…
↗
29
929900610000
Washer(6a1)
Loading…
↗
30
953800660000
Nut(661)
Loading…
↗
32
9010508M2200
Bolt (6f5)
Loading…
↗
33
929900860000
Washer, plain (663)
Loading…
↗
35
973130602500
Bolt
Loading…
↗
37
676157470100
Link
Loading…
↗
38
914901601000
Pin, cotter
Loading…
↗
39
676157460000
Arm
Loading…
↗
40
676157700000
Cable Comp., Starter Stop
Loading…
↗
41
6A0157740000
Stay 4
Loading…
↗
42
970130601200
Bolt(gh1)
Loading…
↗
43
656157480000
Plunger, starter stop
Loading…
↗
44
905011022700
Spring, comprreshion(656)
Loading…
↗