Yamaha Outboard Parts - Starter - 55BM (1995) | Flood Marine
New Search
Parts
New Outboards
Home
55BM (1995)
Starter
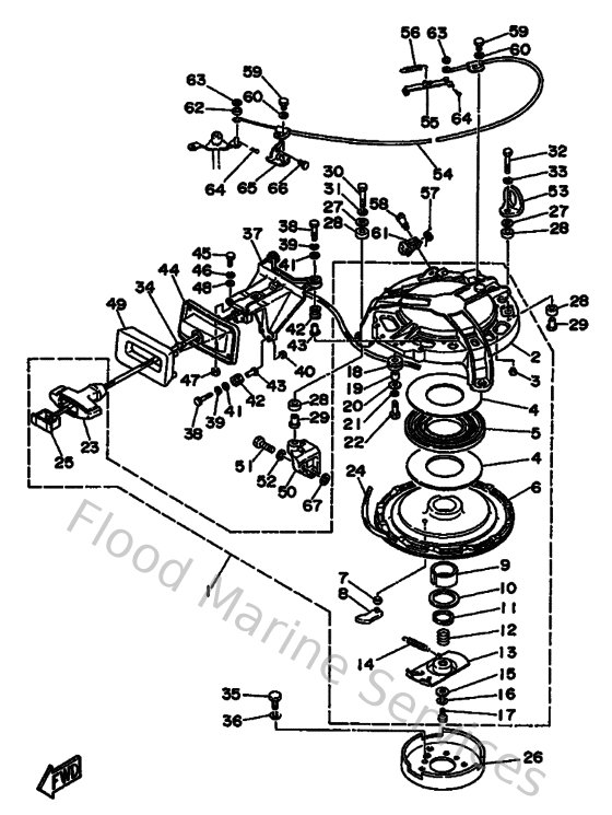
Diagram: Starter
Parts List
Reference
Description
Price
1
696W15710200
Starter assembly
Loading…
↗
2
663157110200
Case, starter
Loading…
↗
3
696157730000
Stay 3
Loading…
↗
4
663157390000
Washer, thrust 2
Loading…
↗
5
663157130000
Spring, starter
Loading…
↗
6
663157140100
Drum, sheave
Loading…
↗
7
663157640000
Collar
Loading…
↗
8
663157410200
Pawl, drive
Loading…
↗
9
663157540000
Bushing
Loading…
↗
10
663157260100
Washer, flat 1
Loading…
↗
11
663157440000
Circlip
Loading…
↗
12
663157150000
Spring, drive plate
Loading…
↗
13
696157160000
Drive, plate
Loading…
↗
14
696157340000
Spring, return
Loading…
↗
15
663157190000
Washer, thrust
Loading…
↗
16
929950610000
Washer(6a1)
Loading…
↗
17
970950601600
Bolt, hexagon deep recess
Loading…
↗
18
663157520000
Roller, wire
Loading…
↗
19
6F5157530000
Bushing 1
Loading…
↗
20
6F5157910000
Washer, lock
Loading…
↗
22
970110602500
Bolt, hexagon
Loading…
↗
23
689157550100
Handle, starter
Loading…
↗
25
6F5157790200
Cover
Loading…
↗
27
902010809500
Washer, plate(j40)
Loading…
↗
28
9038512M0400
Bushing (6f5)
Loading…
↗
29
9038708M0500
Collar (663)
Loading…
↗
30
970950803500
Bolt(70w)
Loading…
↗
31
929950810000
Ybs67-8 washer, spring
Loading…
↗
32
973950804000
Bolt, hexagon
Loading…
↗
33
929900810000
Ybs67-8 washer, spring
Loading…
↗
34
697157890000
Damper
Loading…
↗
35
973130801800
Bolt(ja9)
Loading…
↗
37
697157870094
Adaptor
Loading…
↗
38
970950603000
Bolt(jf7)
Loading…
↗
40
953800660000
Nut(661)
Loading…
↗
41
929900620000
Ybs66-6 washer, plain
Loading…
↗
42
6A0823170000
Damper, ignition coil
Loading…
↗
43
624425420000
Collar
Loading…
↗
44
697157580194
LEVER, MAGNETO CON
Loading…
↗
45
970950602000
Bolt(7u8)
Loading…
↗
48
929900660000
Washer, plain (646)
Loading…
↗
49
697157620000
Seal 2
Loading…
↗
50
663157710094
Stay 1
Loading…
↗
51
970130803000
Bolt
Loading…
↗
53
697111190000
Hanger, engine
Loading…
↗
54
697157700100
Cable comp., starter stop
Loading…
↗
55
663157350100
Guide, cam
Loading…
↗
56
9050608M2300
Spring, tension(6k5)
Loading…
↗
57
905081201500
Spring torsion 616436420000
Loading…
↗
58
901490509500
Screw(663)
Loading…
↗
59
970800601200
Bolt(gh1)
Loading…
↗
61
663157940000
Stopper
Loading…
↗
62
663157360000
Ring, retaining 1
Loading…
↗
63
929950620000
Ybs66-6 washer, plain
Loading…
↗
64
914901601500
Pin, cotter (e57)
Loading…
↗
65
663157720100
Stay 2
Loading…
↗