Yamaha Outboard Parts - Steering - 55BM (1995) | Flood Marine

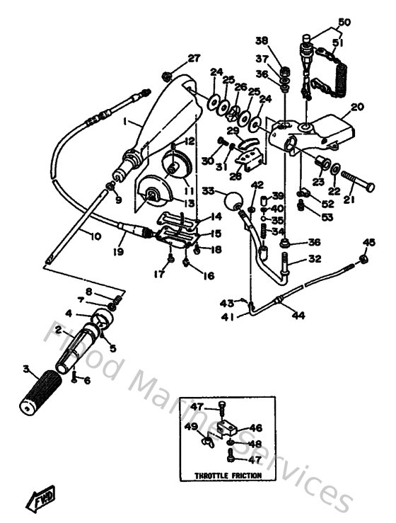
Diagram: Steering

Diagram

Parts List

Reference
Description
Price