Yamaha Outboard Parts - Upper Casing - 140AETOL (1996) | Flood Marine
New Search
Parts
New Outboards
Home
140AETOL (1996)
Upper Casing
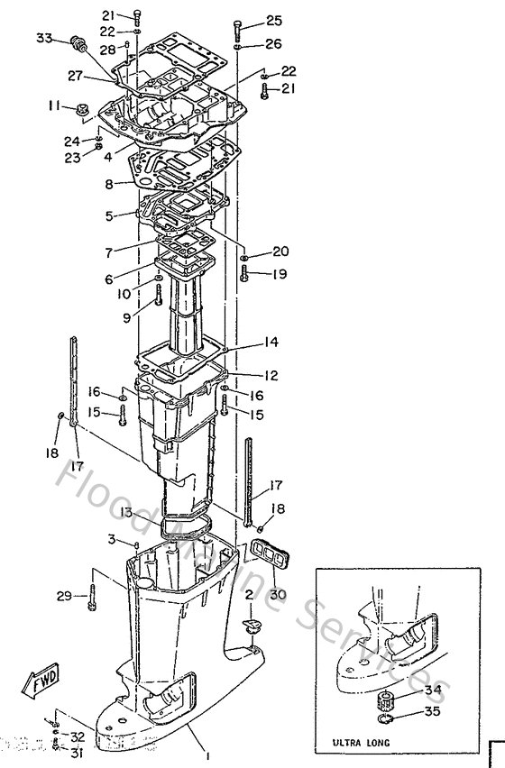
Diagram: Upper Casing
Parts List
Reference
Description
Price
2
6E5451550000
Cap
Loading…
↗
3
9360812M0500
Pin, dowel b (6e5)
Loading…
↗
4
6E5411370294
Guide, exhaust
Loading…
↗
5
6G54113101CA
Manifold, ext. 1
Loading…
↗
6
6E541132009M
Manifold, exhaust
Loading…
↗
7
6G541134A100
Gasket, exhaust manifold
Loading…
↗
8
6E5451140000
Gasket, upper casing
Loading…
↗
9
970950804500
Bolt, hexagon
Loading…
↗
10
929900860000
Washer, plain (663)
Loading…
↗
11
6E5427240000
Grommet
Loading…
↗
13
6E5451230000
Gasket, muffler
Loading…
↗
14
6E5411350000
Gasket, exhaust manifold
Loading…
↗
17
6E5147370000
Damper, muffler
Loading…
↗
18
9018305M0200
Nut, spring (6e5)
Loading…
↗
19
973950803000
Bolt, hexagon (fj1)
Loading…
↗
21
970800803000
Bolt, hexagon (fj1)
Loading…
↗
22
929900810000
Ybs67-8 washer, spring
Loading…
↗
23
953800870000
Nut(661)
Loading…
↗
25
973950804500
Bolt, hexagon
Loading…
↗
27
6E5451130200
Gasket, upper casing
Loading…
↗
29
901190807800
Bolt, with washer
Loading…
↗
30
6E5427690000
Seal, rubber
Loading…
↗
31
973950601000
Bolt
Loading…
↗
32
929900660000
Washer, plain (646)
Loading…
↗
33
6G5125810000
Joint, hose
Loading…
↗
34
6E5453180000
Bushing, drive shaft 3
Loading…
↗
35
9342036M0100
Circlip (6a0)
Loading…
↗