Yamaha Outboard Parts - Upper Casing - 150CETOL (1994) | Flood Marine
New Search
Parts
New Outboards
Home
150CETOL (1994)
Upper Casing
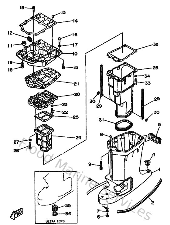
Diagram: Upper Casing
Parts List
Reference
Description
Price
1
6E545111004D
Casing, Upper
Loading…
↗
4
6E5451550000
Cap
Loading…
↗
5
6E5427690000
Seal, rubber
Loading…
↗
6
970850601000
Bolt
Loading…
↗
7
929900660000
Washer, plain (646)
Loading…
↗
8
9360812M0500
Pin, dowel b (6e5)
Loading…
↗
9
9011908M7800
Bolt, with washer
Loading…
↗
10
6G541137KT94
element
Loading…
↗
11
6E5427240000
Grommet
Loading…
↗
12
6G5125810000
Joint, hose
Loading…
↗
14
6G545113A000
Gasket, upper casing
Loading…
↗
15
970800803000
Bolt, hexagon (fj1)
Loading…
↗
16
973950804500
Bolt, hexagon
Loading…
↗
17
929900810000
Ybs67-8 washer, spring
Loading…
↗
18
953800870000
Nut(661)
Loading…
↗
20
6G541131005B
Manifold, ext. 1
Loading…
↗
21
6G545114A000
Gasket, upper casing
Loading…
↗
22
973950803000
Bolt, hexagon (fj1)
Loading…
↗
23
929900860000
Washer, plain (663)
Loading…
↗
24
6G541132005B
Manifold, Exhaust (6G5-41132-00-9M)
Loading…
↗
25
6G541134A000
Gasket, exhaust manifold
Loading…
↗
28
6E514711005B
Muffler 1
Loading…
↗
29
6E5147370000
Damper, muffler
Loading…
↗
30
9018305M0200
Nut, spring (6e5)
Loading…
↗
31
6E5451230000
Gasket, muffler
Loading…
↗
32
6E541135A000
Gasket, exhaust manifold
Loading…
↗
33
970950804500
Bolt, hexagon
Loading…
↗
35
6E5453180000
Bushing, drive shaft 3
Loading…
↗
36
9342036M0100
Circlip (6a0)
Loading…
↗