Yamaha Outboard Parts - Upper Casing - 250BETOXL (2001) | Flood Marine
New Search
Parts
New Outboards
Home
250BETOXL (2001)
Upper Casing
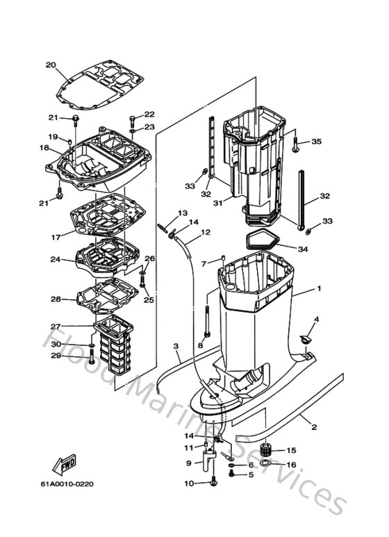
Diagram: Upper Casing
Parts List
Reference
Description
Price
1
61A45111218D
Casing, Upper
Loading…
↗
2
61A42791S000
Mark 1
Loading…
↗
3
61A42792S000
Mark
Loading…
↗
4
61A451550000
Cap
Loading…
↗
5
970950601000
Bolt
Loading…
↗
6
929900660000
Washer, plain (646)
Loading…
↗
7
9360812M0500
Pin, dowel b (6e5)
Loading…
↗
8
9011908M7800
Bolt, with washer
Loading…
↗
9
61A453780000
Nipple, hose
Loading…
↗
10
9011906M4900
Bolt, with washer
Loading…
↗
11
936061201900
Pin, dowel (614)
Loading…
↗
12
9044507MF000
Hose (l1160)
Loading…
↗
13
6E5835580000
End, nipple
Loading…
↗
14
904651009800
Clamp
Loading…
↗
15
6E5453180000
Bushing, drive shaft 3
Loading…
↗
16
9342036M0100
Circlip (6a0)
Loading…
↗
17
61A45114A000
Gasket, upper casing
Loading…
↗
18
61A411370394
Guide, exhaust
Loading…
↗
20
61A45113A000
Gasket, upper casing
Loading…
↗
21
9011908M7900
Bolt, hexagon (fj1)
Loading…
↗
22
970950803500
Bolt(70w)
Loading…
↗
23
929950860000
Washer, plain (663)
Loading…
↗
24
61A4113103CA
Manifold, Ext. 1
Loading…
↗
27
61A4113201CA
Manifold, exhaust
Loading…
↗
28
61A41134A000
Gasket, exhaust manifold
Loading…
↗
29
970950805000
Bolt (62k)
Loading…
↗
31
61A1471130CA
Muffler 1
Loading…
↗
32
6E5147370000
Damper, muffler
Loading…
↗
33
9018305M0200
Nut, spring (6e5)
Loading…
↗
34
61A451230100
Gasket, muffler
Loading…
↗
35
9011908M7400
Bolt, with washer(61a)
Loading…
↗