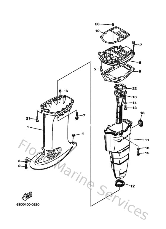
Yamaha Outboard Parts - Upper Casing - 40VMO (2000) | Flood Marine

Diagram: Upper Casing

Diagram