Yamaha Outboard Parts - Upper Casing - 40VMO (2001) | Flood Marine
New Search
Parts
New Outboards
Home
40VMO (2001)
Upper Casing
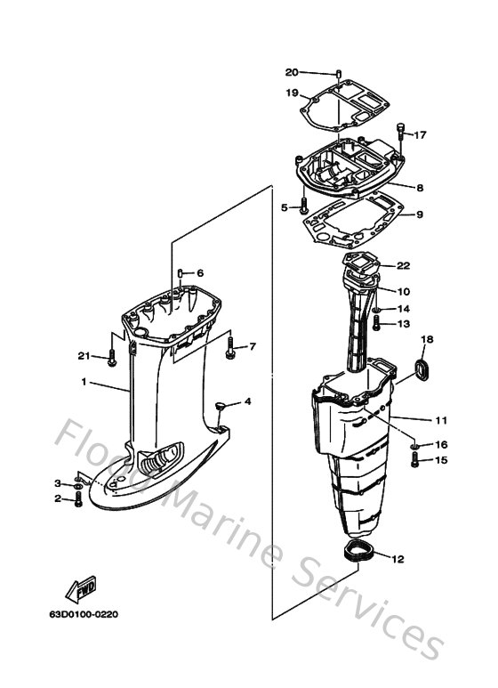
Diagram: Upper Casing
Parts List
Reference
Description
Price
1
63D45111114D
Casing, upper
Loading…
↗
2
970950601200
Bolt(gh1)
Loading…
↗
3
929950610000
Washer(6a1)
Loading…
↗
4
63D451550000
Cap
Loading…
↗
5
975750844500
Bolt, hexagon w/w deep recess
Loading…
↗
6
936061201900
Pin, dowel (614)
Loading…
↗
7
9011908M8200
Bolt, with washer(697)
Loading…
↗
8
63D41137015B
Guide, exhaust
Loading…
↗
9
63D45114A000
Gasket, upper casing
Loading…
↗
10
6H441131015B
Manifold, exhaust
Loading…
↗
11
63D14711115B
Muffler
Loading…
↗
12
63D451230000
Gasket, muffler
Loading…
↗
13
970750803000
Bolt, hexagon (fj1)
Loading…
↗
14
929950860000
Washer, plain (663)
Loading…
↗
17
970800803000
Bolt, hexagon (fj1)
Loading…
↗
18
6H3451270000
Seal 1
Loading…
↗
19
6H445113A000
Gasket, upper casing
Loading…
↗
22
6H441134A000
Gasket, exhaust manifold
Loading…
↗