Yamaha Outboard Parts - Upper Casing - 70BETO (1985) | Flood Marine
New Search
Parts
New Outboards
Home
70BETO (1985)
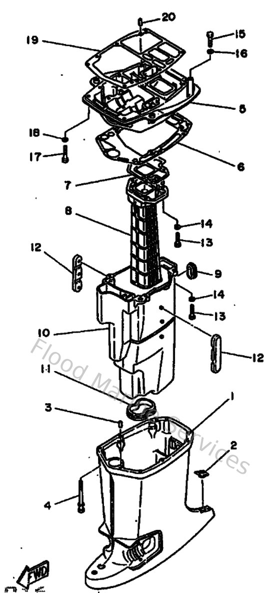
Upper Casing
Diagram: Upper Casing
Parts List
Reference
Description
Price
2
6H3451550000
Cap
Loading…
↗
3
936061201900
Pin, dowel (614)
Loading…
↗
4
9010108M8500
Bolt, with washer
Loading…
↗
5
6H3411370094
Guide, exhaust
Loading…
↗
6
6H345114A100
Gasket, upper casing
Loading…
↗
8
6H241131009M
Manifold, ext. 1
Loading…
↗
9
6H3451270000
Seal 1
Loading…
↗
10
6H314711009M
Muffler 1
Loading…
↗
11
6H3451230000
Gasket, muffler
Loading…
↗
12
6H3147370000
Damper, Muffler
Loading…
↗
13
973750803000
Bolt, hexagon (fj1)
Loading…
↗
14
929900810000
Ybs67-8 washer, spring
Loading…
↗
17
973750803500
Bolt(70w)
Loading…
↗
19
6H3451130000
Gasket, upper casing
Loading…
↗