New Search
Parts
New Outboards
Diagram Sections: 4ACMH (1995)
Download as PDF
Bottom Cowling
Control
Cylinder & Crankcase
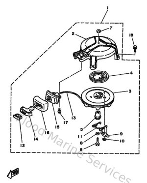
Generatrice
Intake
Kits De Reparation 1
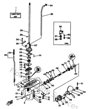
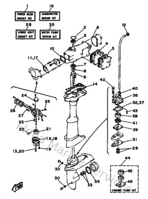
Lower Casing & Drive
Partie Electrique 1
Starter
Top Cowling
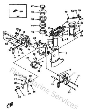
Upper Casing & Bracket